
工作原理
流体流经传感器壳体,由于叶轮的叶片与流向有一定的角度,流体的冲力使叶片具有转动力矩,克服摩擦力矩和流体阻力之后叶片旋转,在力矩平衡后转速稳定,在一定的条件下,转速与流速成正比,由于叶片有导磁性,它处于信号检测器(由永久磁钢和线圈组成)的磁场中,旋转的叶片切割磁力线,周期性的改变着线圈的磁通量,从而使线圈两端感应出电脉冲信号,此信号经过放大器的放大整形,形成有一定幅度的连续的矩形脉冲波,可远传至显示仪表,显示出流体的瞬时流量或总量。

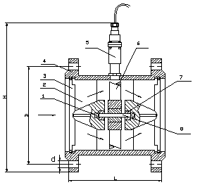
1.球轴承 2.前导向件 3.涨圈 4.壳体 5.前置放大器 6.叶轮 7.轴承 8.轴